Copriconsolle di guida per scafi aperti originale TESSILMARE € 260.82 € 169.54 -35% Seleziona tra 3 modelli
Coprimotore fuoribordo OCEANSOUTH 2/4 tempi Top Quality - Motore completo € 39.63 € 25.76 -35% Seleziona tra 10 modelli
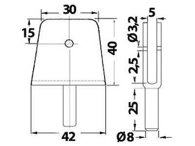
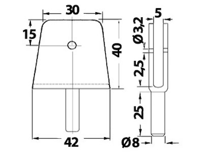
Coprimotore fuoribordo OCEANSOUTH 2/4 tempi Top Quality - Testa motore € 20.31 € 13.20 -35% Seleziona tra 7 modelli
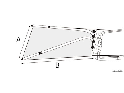
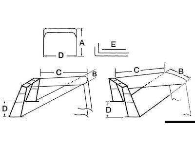
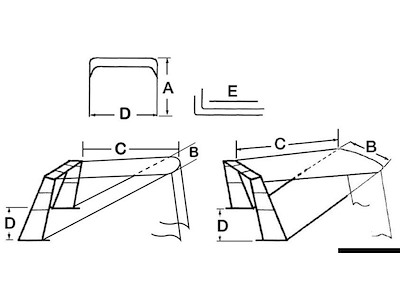
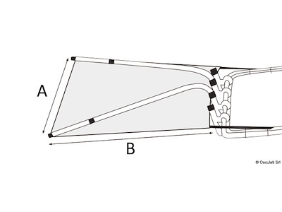
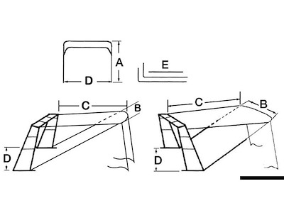
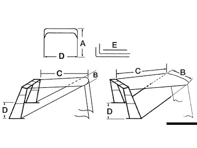
Tendalino con bracci telescopici, tettucci rigidi, tetti Flying bridge € 194.55 € 126.46 -35% Seleziona tra 14 modelli
Tendalino telescopico per Roll-Bar in tubo inox o vetroresina € 401.90 € 261.24 -35% Seleziona tra 16 modelli